cz
en

Měření diferenčního tlaku ve vzduchotechnice

S měřením diferenčního tlaku vzduchu u vzduchotechnických zařízení se nejčastěji setkáváme při hlídání zanesení filtrů či chodu ventilátorů. Tam postačí dvoustavové měření a vyhodnocování pomocí diferenčních manostatů. U systémů s proměnným množstvím vzduchu (VAV) má ale vzduchotechnická jednotka obvykle za úkol udržovat konstatní tlak na přívodu, odtahu či mezi nimi. K tomu už je nutné spojité měření, k čemuž slouží čidla diferenčního tlaku. Při jejich montáži a uvádění do provozu je dobré dodržovat několik jednoduchých pravidel, která si připomeneme v následujícím textu.

Výběr typu a rozsahu čidla

Maximální měřicí rozsah by měl určit projektant na základě předpokládané nejvyšší požadované hodnoty tlaku. Vybíráme vždy typ čidla s nejbližším vyšším rozsahem, ideální je, když se regulovaná hodnota pohybuje kolem 60 – 70 % max. měřicího rozsahu čidla. Zároveň musíme dbát na odolnost čidla proti přetížení – kontrolujeme, že max. diferenční tlak nesmí překročit výrobcem udávanou hodnotu, jinak by mohlo dojít k poškození čidla. Naštěstí tyto nejvyšší přípustné tlaky představují mnohonásobky měřicího rozsahu čidla, např. S+S PREMASGARD® 212x-SD s max. měřicím rozsahem 0...1000 Pa snese přetížení až 50 000 Pa. To je tlak, kterého nelze za běžných podmínek v jednotce vůbec dosáhnout, musíme ale brát v úvahu i možné tlakové rázy vznikající při přechodových stavech.

Některá čidla mají rozsahy přepínatelné, což usnadňuje práci projektantovi, ale mírně komplikuje technikovi na stavbě: je nutné zkontrolovat, že rozsah čidla je nastaven podle údajů v projektu.

U regulace diferenčního tlaku čistých prostor vůči okolí (šedé zóně, chodbě atd.) je potřeba si uvědomit, že regulovaná hodnota bude velmi malá, typicky 2 až 5 Pa. Proto se vyhýbáme čidlům se zbytečně velkým rozsahem. Pokud bychom například použili čidlo 0...100 Pa, provozní hodnota bude cca. 3 % z měřicího rozsahu. To je jednak srovnatelné s chybou měření (která u tohoto rozsahu představuje 3 Pa), jednak signál u čidla s výstupem 0...10 V má velikost pouze 300 mV a tedy více podléhá rušení. Je tedy nutné i za cenu vyšších nákladů zvolit čidlo 0...25 Pa, které má přesnost ± 1 Pa.

Volba míst pro instalaci odběrových sond

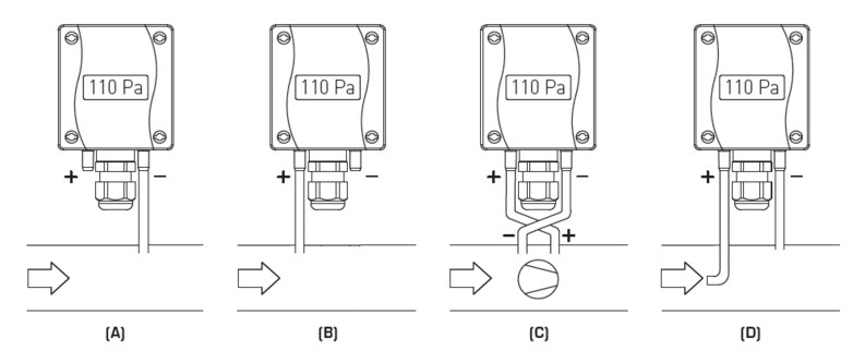
Volba místa pro montáž sondy je asi nejkritičtější bod celého procesu. Na následujícím obrázku vidíme typické případy měření:

Typické případy instalace diferenčního čidla tlaku ve VZT jednotce.

A – měření podtlaku ve VZT kanálu vůči atmosféře, typicky při regulaci na konstantní tlak na odtahu
B – měření přetlaku ve VZT kanálu vůči atmosféře, typicky při regulaci na konstantní tlak na přívodu
C – měření diferenčního tlaku na ventilátoru (zdroji), za ventilátorem ve směru proudění je přetlak
D – měření dynamického tlaku, na + portu je trubice pro snímání dynamického tlaku, na – portu je statický tlak v potrubí

Je vhodnější instalovat sondu do potrubí spíše než přímo do jednotky. V potrubí je proudění vzduchu plynulejší a chvění jednotky se nepřenáší na odběrné hadičky ani na samotné čidlo. Doporučený odstup od kolen nebo dalších rušivých prvků, tzv. zklidňovací délka, je šestinásobek průměru potrubí. Pro potrubí s obdélníkovým průřezem platí tzv. ekvivalentní průměr d.

Instalace sondy vzhledem ke zklidňující délce

Pokud dodavatel VZT vybaví odběrnými místy, ta slouží k měření VZT při zaregulování. Chceme-li je využít, je nutné hadičku nastavit T-kusem, servisní odběr zazátkovat a druhý port využít pro regulaci. Zejména u tvarově členitých vzduchotechnických kanálů musíme dbát na to, aby odběrné místo nebylo v rohu potrubí nebo na jiném místě, kde tlak nelze správně změřit.

Nevhodné a vhodnější odběrné místo.

Je jasné, že ne vždy je možné zklidňovací délku dodržet. Pak musíme ověřit správnou funkci čidla a případně požádat o součinnost dodavatele vzduchotechniky dříve, než tento opustí stavbu.

Problém může nastat u vzduchotechnik, které mají ventilátor instalován bezprostředně u větraného prostoru (chybí přívodní nebo odtahové potrubí). Pro měření tlaku v místnosti pak musíme použít zvláštní sondy vhodné pro montáž do instalačních krabic pod omítku, které jsou umístěny ve větraném prostoru.

Délka a průřezy přívodních hadiček

K čidlům S+S PREMASGARD je přiložena dvoumetrová PVC hadička o průměru 6 mm. Hadička se rozdělí a případně zkrátí tak, aby spoj mezi odběrným místem a portem čidla nebyl zbytečně dlouhý, ale ani napnutý nebo zohýbaný (což by mohlo zmenšit efektivní světlost hadičky). Pokud jsou odběrná místa od sebe vzdálena více než 2 m, je možné použít delší hadičku, a to až do délky cca. 10 m. Při větších vzdálenostech je nutné nasadit hadičku o větším průměru (10 – 12 mm), lepší je ale se těmto situacím vyhnout. Mimo jiné platí, že čím je hadička delší, tím je delší i reakce čidla na změnu tlaku.

V případě, že vzduchotechnika je instalována ve venkovním prostředí a při měření na odtahu hrozí riziko kondenzace, dbejme na to, aby hadičky byly vždy vyspádovány směrem od čidla k odběrnému místu. Zamezí to hromadění kondenzátu v čidle nebo ohybu hadičky – zmrzlý kondenzát má za následek nefunkčnost čidla. Pouhé tepelné zaizolování hadičky není účinným opatřením, navíc může dojít ke skřípnutí hadičky izolací.

Postup při uvádění do provozu

Nejdříve zkontrolujeme mechanické a elektrické zapojení. Čidlo by mělo být dobře přístupné, hadičky nesmějí být skřípnuté izolací. Přípojky pro hadičku musejí být dobře upevněny na potrubí, aby těsnily. Vodiče uvnitř čidla nesmějí překážet vnitřním hadičkám, které spojují vstupní porty čidla s měřicím prvkem, pozor zejména na vodiče zasunuté pod deskou s plošnými spoji. Nesmí dojít k tomu, že po nasazení víčka je stlačeným vodičem stisknuto nulovací tlačítko apod. V případě potřeby raději přívodní žíly zkrátíme, než abychom je násilím tlačili do prostoru s elektronikou.

Dále nastavíme přepínače na desce plošných spojů podle požadovaného rozsahu a funkce. U čidel S+S PREMASGARD je reakce okamžitá, čidlo není nutné odpojovat od napájecího napětí, aby se nastavení projevilo.

Zkontrolujeme, jestli bez tlaku čidlo ukazuje nulovou hodnotu. Pokud ne, čidlo vynulujeme:

  • čidlo musí být před vynulováním min. 60 minut pod napětím, aby se stabilizovalo
  • zajistíme, že mezi porty čidla je nulový rozdíl tlaků, odpojením hadiček přímo na čidle
  • stiskneme a podržíme tlačítko „key“ po dobu min. 5 s. Během nulovacího procesu krátce červeně bliká LED. Ukončení procesu je signalizováno trvalým svitem po dobu 3 s.

V aplikačním programu zkontrolujeme, že škálování vstupního signálu odpovídá nastavenému měřicímu rozsahu. Pozor u symetrického měření (-X... + X Pa), signál při nulovém diferenčním tlaku je 50 % rozsahu signálu, tedy u čidel s napěťovým výstupem 5 V.

Ve spolupráci s dodavatelem vzduchotechniky ověříme, že za provozu čidlo ukazuje stejné hodnoty, jaké jsou naměřeny přenosným měřičem diferenčního tlaku.

Pokud měřená hodnota výrazně kolísá, například vlivem chvění konstrukce nebo turbulencí vzduchu, můžeme nastavit interval měření přímo na čidle (DIP switch 5, přepíná se mezi 1 a 10 s) nebo zavedeme filtrování v softwaru (např. v Merbon IDE blok B86):

Softwarový filtr. x = vstupní hodnota, y = filtrovaná hodnota

Zaregulování a nastavení PI regulátorů

Proporcionální a integrační konstanty nastavujeme podobným způsobem, jako u jiných regulovaných okruhů. Nejprve je vhodné uvědomit si, jaký tlak vyvine ventilátor nastavený na maximální otáčky (v řídicím programu obvykle škálováno jako „100 % řídicího signálu“ – absolutní hodnota otáček nebo frekvence nás příliš nezajímá, tu si nastaví na frekvenčním měniči dodavatel vzduchotechniky). To by v zásadě měla být šířka pásma, tzv. P konstanta. Nejprve zaregulujeme systém pouze jako P regulátor, s integrační konstantou rovnou 0, a ujistíme se, že systém nekmitá – pokud ano, postupně zvětšujeme šířku pásma, jinak zmenšujeme šířku pásma až na mez kmitání a následně přidáme cca. 10 %. Pak zavedeme integrační složku a snažíme se při zachování stability soustavy dosáhnout trvale přesné požadované hodnoty.

Příklad – přetlak ve výrobní hale, čisté prostory:

U regulace přetlaku s požadovanou hodnotou 3 Pa u čistého prostoru o objemu několik set m3 se tlak měří jako diferenční mezi touto výrobní halou a okolním prostředím (velkou halou bez nároků na čistotu vzduchu). Bylo použito čidlo s výstupem 0...10 V a rozsahem 0...50 Pa. Jako výchozí byla zvolena šířka pásma 16 Pa a po zaregulování byla nastavena integrační konstanta 400 s. Jde tedy o dosti zatlumený regulační obvod. Tato zdánlivě dlouhá doba integrace zabraňuje výkyvům regulace při otevření dveří po vstupu osob do místnosti, protože otevřené dveře způsobí dočasný náhlý pokles tlaku. Na něj by regulace vůbec neměla reagovat – stejně není v jejích silách pokles tak rychle a v takové míře kompenzovat.

Příklad – VZT pro zásobování systému VAV:

Přívod i odtah jsou regulovány zvlášť, vždy vůči atmosféře (situace [A] a [B] na obr. výše). Požadovaná hodnota na přívodu je 370 Pa, na odtahu 360 Pa. Použita jsou čidla s rozsahem 0...1000 Pa. Šířka pásma je 1000 (přívod), resp. 800 (odtah) Pa, integrační konstanta 40 s. Všimněme si, že integrační konstanta je řádově menší než v předchozím případě – nejde zde o měření tlaku ve velkém prostoru haly, ale o snímání tlaku v potrubí ve vzdálenosti cca. 5 m za ventilátorem. Změny se tedy projeví prakticky okamžitě a okruh je lépe zaregulovatelný než v předchozím případě. Při uvádění do provozu byl ve spolupráci s dodavatelem VZT postupně zvyšována požadovaná hodnota tlaku až do okamžiku, kdy i na nejvzdálenějším VAV boxu byl k dispozici tlak nutný pro jeho správnou funkci. Tato hodnota pak byla nastavena jako žádaná.

Příklad – VZT pro čisté prostory:

Vzduchotechnika zásobuje systém čistých, šedých a špinavých prostor v operačním traktu polikliniky. Systém se skládá z VZT jednotky zásobující celou soustavu a z několika zónových regulátorů, které zajišťují tlakové rozdíly v řádu jednotek Pa mezi jednotlivými místnostmi. Přívod VZT je regulován na požadovanou hodnotu dif. tlaku 140 Pa vůči atmosféře podle situace [B] na obr. výše. Soustavu se podařilo zaregulovat s integrační konstantou 900 s a šířkou pásma 60 Pa. Konstanta 900 s je možná zbytečně dlouhá, podařilo se s ní ale dosáhnout větší stability regulace a tolerance k tlakovým rázům, které vznikají při otevření dveří při průchodu osob mezi zónami – regulátor se zbytečně nesnaží kompenzovat i takto náhlé změny, což by se tak jako tak nepodařilo. Šířka pásma 60 Pa neodpovídá výše uvedenému postupu, ale empiricky funguje; nepodařilo se zde jistit, jak je nastaven frekvenční měnič. V ustáleném stavu má výstupní signál pro frekvenční měnič hodnotu 62 %, skutečná hodnota je cca. 140 +/- 8 Pa.

Vzduchotechnika zásobuje čisté prostory a vzduch je postupně přepouštěn do šedých a špinavých prostor. Regulátory klapek v potrubí propojujícím místnosti měří diferenční tlak mezi místnostmi. Jsou nastaveny na požadovanou hodnotu 5 Pa, šířka pásma 30 Pa, časová konstanta 120 s.

Všechny výše uvedené hodnoty regulačních konstant slouží pouze pro orientaci, v žádném případě nemohou nahradit řádné zaregulování konkrétního zařízení.